L25
Megaphone (25W max) with Siren
952.016UK
Introduction
Thank you for choosing the Adastra L25 megaphone for voice reinforcement. This product is designed to offer convenient and easy operation for a wide range of portable public address requirements. Please use the following instructions to gain the best results from your megaphone.
Caution: Please read this manual carefully before operating Damage caused by misuse is not covered by the warranty
Safety
The L25 megaphone can produce high sound pressure levels at close quarters. Please be aware not to aim the horn flare toward listeners at close proximity, which may risk damage to the listeners’ hearing.
The L25 operates from 8 x “C” cell batteries. It is advised to use alkaline or NiMH batteries and to remove these when not in use for long periods of time. Some batteries can leak fluids which are corrosive and can cause damage to the internal circuitry.
Positioning During Operation
When in use, the pistol grip of the megaphone should be held firmly with the flare facing toward the audience. Alternatively, the megaphone can be slung under the arm using the supplied shoulder strap.
In between uses, the megaphone can be placed on a flat surface with the flare facing downward, protected by the rubber trim around the flare edge.
Cleaning
- The housing is water resistant and can be cleaned with a damp cloth.
- Do not use detergents or solvents on the housing and take care not to allow liquids to get inside the housing at the rear or via the battery compartment.
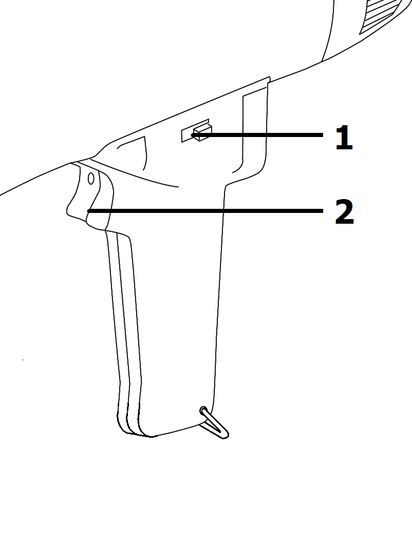
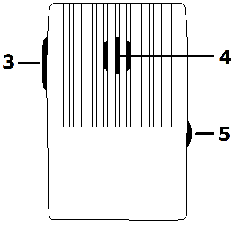
Controls


- Siren switch
- Trigger switch
- Push to talk switch (with lock)
- Microphone
- Volume control edge roller
Setting Up
Before operating the L25 megaphone, it will be necessary to load it with 8 x “C” cell batteries.
To access the rear battery compartment, release the lever clip at the top and allow the rear cover to fold down.
Load the battery holders with 8 “C” cell batteries with alternating polarities as shown below.


Alternatively, the L25 can be powered by an external 12Vdc source (such as car battery) connected via a 2.1mm DC jack located between the pistol grip and rear cover hinge (a lead is supplied for connection to a car cigar lighter socket). This jack is covered with a rubber plug for protection.
The image on the left shows the underside of the rear of the megaphone.
Operation
The pistol grip should be held firmly in one hand with the rear panel facing toward the operator and the flare facing away. Alternatively, the megaphone can be slung under the arm using the supplied shoulder strap.
Holding the microphone in the other hand and pressing in the push-to-talk button (3) will activate the microphone. If the push-to-talk button cannot be pressed in, it may be locked. Slide this button down to unlock and press in to talk.
Set the volume control edge roller (5) to the centre of its travel and speak into the microphone (4).
Adjust the volume control to the required volume level.
Alternatively, the microphone may be hooked onto the rear cover for single handed operation. Pressing the trigger switch (2) activates the microphone.
There is also a siren function which emits a loud sweeping tone for warnings or alerts.
To activate this, slide the siren switch (1) on the side of the pistol grip to the ON position.
Sliding it back to the OFF position cancels the siren.
Remove batteries if not being used for long periods of time.
Precautions
Disposal : The "Crossed Wheelie Bin" symbol on the product means that the product is classed as Electrical or Electronic equipment and should not be disposed with other household or commercial waste at the end of its useful life. The goods must be disposed of according to your local council guidelines.
AVSL Group Ltd, Unit 2 Bridgewater Park, Taylor Road, Manchester, M41 7JQ, Unitied Kingdom
AVSL (EUROPE) Ltd, Unit 3D North Point House, North Point Business Park, New Mallow Road, Cork, Ireland